¾ÖÇÃ, Ä«ÅöÆ¢ ÇØ°á ƯÇ㡦¾ÆÀÌÆù ´õ ¾ã¾ÆÁö³ª ÇϳªÀÇ À̹ÌÁö¼¾¼·Î Àü.Èĸé Ä«¸Þ¶ó ¸ðµÎ Á¦¾î |
- Á¶È¸ :
- 372
- ̵̧ :
- 35
|
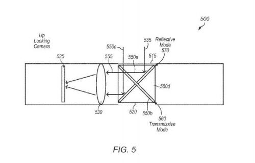
fjrigjwwe9r0UNIMO_MULTIBOARD:Brd_Contents ¾ÖÇÃÀÌ ÇϳªÀÇ À̹ÌÁö ¼¾¼·Î º¹¼öÀÇ ·»Á »ç¿ëÇÒ ¼ö ÀÖµµ·Ï ÇÏ´Â ±â¼úÀ» °³¹ßÇÑ »ç½ÇÀÌ È®ÀεƴÙ.
Àü¡¤Èĸ鿡 žÀçµÈ Ä«¸Þ¶ó¸¦ ÇϳªÀÇ ¼¾¼·Î »ç¿ëÇÒ ¼ö Àִµ¥, ÀÌ °æ¿ì ¼¿Ä«(Selfie) ÃÔ¿µ¿¡ ÀÚÁÖ ¾²´Â Àü¸é Ä«¸Þ¶ó°¡ ÇØ»óµµ°¡ ÈξÀ ³ôÀº Èĸé Ä«¸Þ¶ó¿Í °°Àº ¼öÁØÀ¸·Î »ç¿ëÇÒ ¼öµµ ÀÖ°Ô µÈ´Ù.
2ÀÏ(ÇöÁö½Ã°£) IT Àü¹® ¸Åü ¾ÖÇÃÀλçÀÌ´õ´Â ¹Ì±¹ ƯÇãû µîÀ» ÀοëÇØ ¾ÖÇÃÀÌ ÀÌ °°Àº ³»¿ëÀ» ´ãÀº ƯÇ㸦 µî·ÏÇß´Ù°í º¸µµÇß´Ù.
ÀÌ ±â¼úÀº ±âÁ¸¿¡ À̹ÌÁö ¼¾¼¿Í Ä«¸Þ¶ó ·»Á ¹°¸®ÀûÀ¸·Î Á÷Á¢ ¿¬°áÇÏ´ø ¹æ½Ä ´ë½Å Àü·ù°¡ È帣´Â ¹æÇâ¿¡ µû¶ó »ç¿ëÇÏ´Â Ä«¸Þ¶ó·Î ÇâÇÏ´Â ¡®±â°è Á¶Á¤ ¹æ½Ä(Machine-controlled)¡¯ ¹Ì·¯¸¦ ÅëÇØ ¼¾¼¿¡¼ ³ª¿À´Â ±¤¿øÀ» ÇØ´ç Ä«¸Þ¶ó¿¡ Àü´ÞÇÏ´Â ¹æ½ÄÀÌ´Ù.

¡ã ¾ÖÇÃÀÌ Ãâ¿øÇÑ À̹ÌÁö¼¾¼ °ü·Ã ƯÇã°¡ Á¤½Ä µî·ÏµÆ´Ù. ÇϳªÀÇ ¼¾¼·Î Àü.Èĸé Ä«¸Þ¶ó ¸ðµÎ Á¦¾îÇÒ ¼ö ÀÖ¾î Ä«¸Þ¶ó¸ðµâ Å©±â¸¦ ÁÙ¿© Ä«ÅöÆ¢ µðÀÚÀο¡ ´ëÇÑ °í¹ÎÀ» ÇØ°áÇÏ°í ´õ ¾ãÀº ½º¸¶Æ®Æù ¼³°èµµ °¡´ÉÇØÁø´Ù. ¡´Ãâó=¹Ì±¹ ƯÇãû(USPTO)/¾ÖÇáµ
À̸¦ ¹ßÀü½ÃŰ¸é ±× µ¿¾È À̹ÌÁö¼¾¼ 2°³¸¦ »ç¿ëÇÏ´ø °Í¿¡¼ 1°³¸¸ »ç¿ëÇÒ ¼ö ÀÖ¾î Á¦ÀÛºñ¿ëÀ» ÁÙÀÏ ¼ö ÀÖ°í, Ä«¸Þ¶ó ¸ðµâÀÇ µÎ²²¸¦ ÁÙÀÏ ¼ö ÀÖ¾î ½º¸¶Æ®ÆùÀ̳ª ÅÂºí¸´ÀÇ µÎ²²¸¦ ´õ ¾ã°Ô ¸¸µé ¼öµµ ÀÖ°Ô µÉ Àü¸ÁÀÌ´Ù.
ÀÌ °æ¿ì ÇöÀç ½º¸¶Æ®Æù µÎ²² ÁÙÀ̱âÀÇ °¡Àå Å« °É¸²µ¹·Î ÁöÀûµÇ´Â À̸¥¹Ù ¡®Ä«ÅöÆ¢(Ä«¸Þ¶ó°¡ º»Ã¼º¸´Ù Æ¢¾î³ª¿ÍÀÖ´Â ¸ð½À)¡¯¿¡ ´ëÇÑ °í¹ÎÀÌ ÁÙ¾î µé¾î ¼³°è À¯¿¬¼ºµµ È®º¸µÈ´Ù.
|
- ÀÛ¼ºÀÚ :
- Àü¹®±âÀÚ
(dudtm00)
- ³¯Â¥ :
- 2015-04-03 ¿ÀÈÄ 12:27:35
|
